Перейти к содержимому
Войти

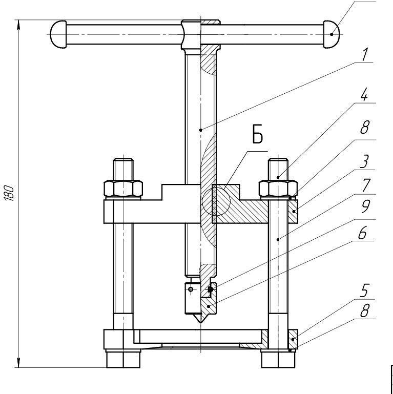
Приспособление для съемки с валов дисков и колес МЧ.07.08.00.СБ

0
1
34
1
0
50

ТПТ, Приспособление для съемки с валов дисков и колес, 2024

Работа представляет студенческий чертеж съемника. Выполнена в Компас 3D v24. Состав: сборочная модель, компоненты и чертежи   и спецификации выполнены в соответствии с ЕСКД.


Сообщить о проблеме
Дата
19.01.2026
Язык
Русский
Состав
3D Сборка, Сборочный чертеж (СБ), Спецификация
Софт
КОМПАС-3D 24 Как открыть?
Отзывов пока нет
Задать вопрос
Содержимое архива
      • icon-pdf 1_МЧ.07.08.00.СБ Приспособление для съемки с валов дисков и колес.pdf
      • icon-pdf МЧ.07.08.00.01.pdf
      • icon-pdf МЧ.07.08.00.02.pdf
      • icon-pdf МЧ.07.08.00.03.pdf
      • icon-pdf МЧ.07.08.00.04.pdf
      • icon-pdf МЧ.07.08.00.05.pdf
      • icon-pdf МЧ.07.08.00.06.pdf
      • icon-pdf МЧ.07.08.00.СБ.pdf
      • icon-pdf МЧ.07.08.00.СП.pdf
    • icon-cdw Винт _ МЧ.07.08.00.01.cdw
    • icon-m3d Винт _ МЧ.07.08.00.01.m3d
    • icon-cdw МЧ.07.08.00.СБ.cdw
    • icon-m3d Наконечник _ МЧ.07.08.00.08 2V.m3d
    • icon-cdw Наконечник _ МЧ.07.08.00.08.cdw
    • icon-m3d Наконечник _ МЧ.07.08.00.08.m3d
    • icon-cdw Основание _ МЧ.07.08.00.07.cdw
    • icon-m3d Основание _ МЧ.07.08.00.07.m3d
    • icon-cdw Рукоять _ МЧ.07.08.00.02.cdw
    • icon-m3d Рукоять _ МЧ.07.08.00.02.m3d
    • icon-a3d Сборочный чертеж _ МЧ.07.08.00.СБ.a3d
    • icon-spw Сборочный чертеж _ МЧ.07.08.00.СБ.spw
    • icon-step Сборочный чертеж _ МЧ.07.08.00.СБ.stp
    • icon-cdw Таверса _ МЧ.07.08.00.03.cdw
    • icon-m3d Таверса _ МЧ.07.08.00.03.m3d
    • icon-cdw Шпилька _ МЧ.07.08.00.06.cdw
    • icon-m3d Шпилька _ МЧ.07.08.00.06.m3d
    • icon-m3d Штифт 2х12 ГОСТ 3128-70.m3d
Чтобы скачать чертеж, 3D модель или проект, Вы должны зарегистрироваться и принять участие в жизни сайта. Посмотрите, как тут скачивать файлы
Отзывов пока нет
Чтобы оставить отзыв, необходимо войти
Войти с помощью:

Используя функцию входа через сторонние сервисы, Вы соглашаетесь на обработку персональных данных в соответствии с Политикой конфиденциальности